Multi Pin Power Device Tester
970-IT
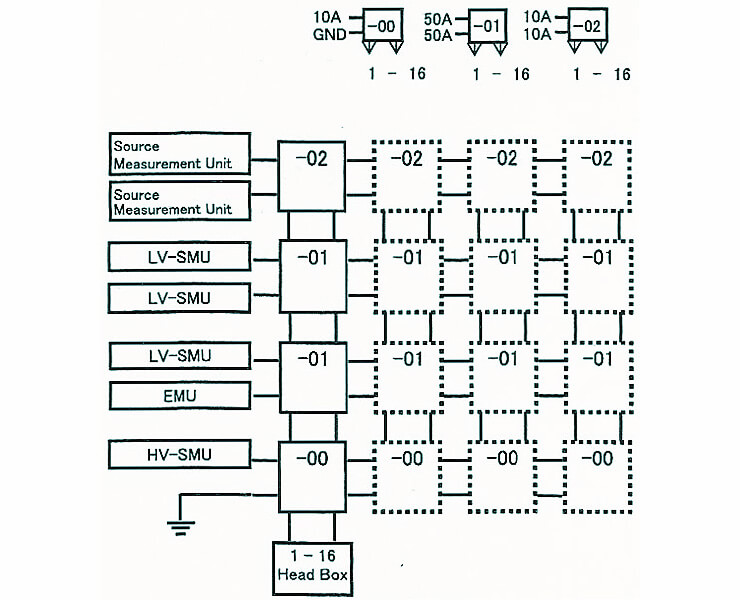
The 970-IT performs testing of multi-pin power devices, which are highly functional and more complex with built-in control circuit, protection circuit, etc. The mainframe has 2 test stations capability. By combination of pin Matrix and Source Unit, user is able to compose required measuring circuits freely.
Feature
- Full Programmable Test Circuit
- 32 pin Capability
- 6 types of forcing waveform are available
Test Method
- Pin Matrix : 32pins
- Multi Bias : 7
- 2 point Judgement
Matrix Specification
PMU : Pin Matrix unit (OT9526-0X)
- ALL PUM has 1.6kV
- ALL PMU has 2 source lines & 1.6kV
- There are 3 types of PMU board as follows
| MODEL | 970-IT |
|---|---|
| Host CPU | Personal Computer |
| Operating System | Windows |
| Architecture | Pin Matrix V-I Source |
| Data Display | 4-digit high speed A/D conversion |
| Test Stations | 2 |
| Device Pin | 32 pins / station(max) |
| DC Measurement | ± 1.6kV / 50A |
| Source Line | 8 (including GND) |
| Test Plan | 999 |
| Sort Plan | 250 |
For details, please refer to the standard specification sheets of each product.








